May 2, 2026

Capitalizations Index – B ∞/21M

Mastercard International Seeks Patent For Fast Tracking Blockchain Navigation

Mastercard international seeks patent for fast tracking blockchain navigation

Mastercard International Seeks Patent For Fast Tracking Blockchain Navigation

Mastercard international seeks patent for fast tracking blockchain navigation
Advertisement

Join our community of 10 000 traders on Hacked.com for just $39 per month.

Mastercard International Inc. has applied for a patent for a system for fast tracking navigation of blockchains by means of data manipulation, according to a filing with the United States Patent and Trademark Office.

The system is designed to facilitate quicker navigation and verification of blocks in a blockchain.

Mastercard international seeks patent for fast tracking blockchain navigation
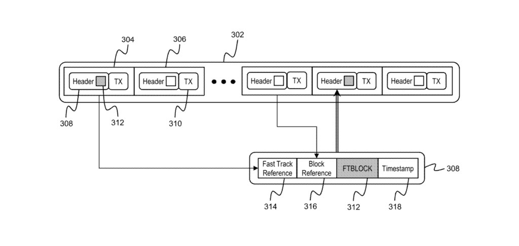
This diagram demonstrates a system for fast track navigation and verification of blocks.

David J. King of Guildford, United Kingdom, is listed as the inventor of the system. The patent was filed on Oct. 24, 2016. The publication date on the application is April 26, 2018.

Addressing A Need

The application notes there is a need for a technical solution to increase the speed at which a blockchain can be navigated for verification of a large number of blocks and reduce the time needed for a new node to begin participating in the blockchain.

Mastercard international seeks patent for fast tracking blockchain navigation
This flow diagram illustraties the process for the generation of a blockchain configured for fast navigation via special flags and hash values.

Each block in the system will have a header consisting of a fast track flag, fast-track reference, a timestamp and a hash value.

The use of specialized flags and hash values included in the block headers can allow the speed of navigation to be increased significantly, which will greatly reduce the computing time and power needed to verify the blockchain, according to the patent abstract. The result will be more efficient navigation and verification of the blockchain.

Also read: PayPal files patent to improve cryptocurrency transaction times

Specialized Flags

The system can enable the generation of a blockchain that is configured for fast navigation through the use of specialized fast track flags and fast-track reference values. Such data can enable not only faster navigation of a blockchain, but also faster verification of the blocks included in the blockchain to provide for more efficient computing.

As a result, new computing devices will be able to participate as nodes in the blockchain more quickly than in traditional blockchains.

The timestamp can use any suitable type of representation, such as a date-time value, a time in seconds since the beginning of the UNIX epoch, etc.

The processing server can be one of a plurality of nodes associated with the blockchain, each of which can be configured to receive transaction records for inclusion in blocks that are generated for addition to the blockchain.

In some embodiments, the blockchain can be a permissioned blockchain that can utilize digital signatures.

Featured image from Shutterstock.

Follow us on Telegram.
Advertisement

Published at Mon, 30 Apr 2018 17:13:43 +0000

Blockchain News

Previous Article

Interview with DICE Money Co-Founders on their Crowd-Mining Alternative to ICOs

Next Article

Zero – New Freezer (Freestyle)

You might be interested in …

The American Economy – A Hydra-Headed Superpower

The American Economy – A Hydra-Headed Superpower From agriculture to aerospace, life sciences to logistics, energy to entertainment, the U.S. economy is a hydra-headed superpower with the wherewithal to withstand various headwinds (trade tensions, stronger […]